企业用户操作步骤
环境要求:
1、浏览器360、搜狗、Google ,但不支持IE浏览器。
打开浏览器,在地址栏输入:/qytbweb/#/login?redirect=%2F 出现如图所示的登录界面,在界面中输入用户名和密码,点击【登录】进入系统。
(注:登录账号为企业组织机构代码,初始密码请咨询直管统计机构。)

系统的主页如下图:

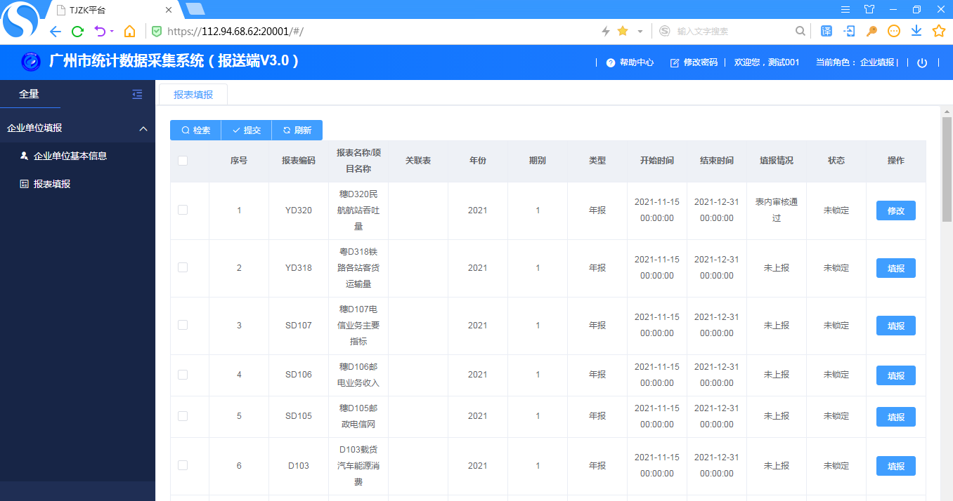
在系统的主页下菜单栏的“报表填报”进入到企业需要填报的功能首页,如图所示:
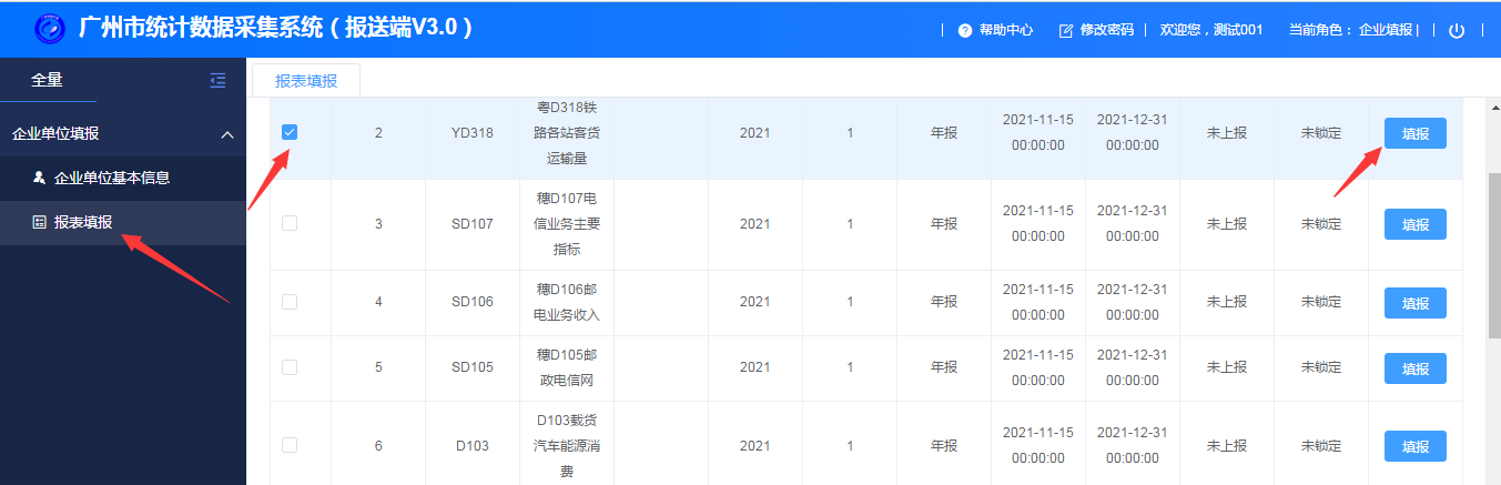
选中所填报表,或用检索功能查找所填报表,并点击“填报”按钮。


1、提交:数据填写完成,正式上报。
2、表内审核:根据后台配置的审核公式进行审核,对于不符合审核公式的数据给予提示,审核不通过的不能提交。
3、暂存:即将填报的数据暂时保存。
4、撤回:将已提交的数据撤回,保持没有提交的状态。对于已过报告期的报表撤回无效。
5、导出xlsx:将表格导出xlsx格式的文档。
6、导出xls:将表格导出xls格式的文档。
7、撤消粘贴:将复制粘贴的内容取消掉。
8、一健清除:将所填数据一健清除掉。
如下图所示:

1、统一社会信用代码和单位名称系统自动显示并且不能为空。
2、在空白框内填写企业所报的数据,如下图:

在数据填报完成后,点击“表内审核”,如表内审核通过,即可以提交,

1、如果表内审核不能过,即按审核不通过的提示进行修改,2、审核不通过时可以导出审核情况。如下图所示:

将通过“表内审核”的数据点“提交”按钮,即上报数据。
